StirilePROTV
  • PROTV News Live
  • Cauta
  • Toate categoriile
  • Știri Actuale
  • Știri Externe
  • Inspectorul PRO
  • Interviurile Știrileprotv.ro
  • Horoscopul lui Neti
  • Știri Politică
  • Vremea
  • Știri Economice
  • Știri Sănătate
  • Știri Educație
  • Știri Sport
  • Știri Justiție
  • Știri Știință
  • Știri Mondene
  • Locale
    • Cluj
    • Prahova
    • Brașov
    • Contanța
    • Satu-Mare
    • Buzău
    • Arad
    • Gorj
    • Argeș
    • Sibiu
    • Timișoara
    • Iași
    • Ploiești
    • Oradea
    • Craiova
  • Știri Cultură
  • Știri Diverse
  • Știri Sociale
  • Legal Marketing
  • iLikeIT
  • Doctor de Bine
  • Travel
  • iBani
  • PRO VERDE
  • EURomânia
  • Conectat la România
  • Deșteaptă-te, România!
  • myImpact
  • Economisire și investiții
  • Sănătos Acasă
  • I like AI
  • Zâmbet sănătos
  • Pur și simplu mulțumesc
  • PROTV News Live
  • Top citite
  • Ultimele știri
  • Emisiuni integrale
  • Video
  • România, te iubesc!
  • Inspectorul PRO
  • LIVE Știrile PRO TV de la ora 17:00

Stiri mumie

Ce au găsit arheologii pe pieptul unei mumii din Egipt. „Aceasta este o descoperire importantă”

Arheologii care lucrează în vechiul oraș Oxyrhynchus din Egipt au descoperit o mumie cu un fragment din „Iliada” lui ...
Citeste mai mult ›

Cadavru mumificat, găsit într-un conac de 4 milioane de lire sterline, în Chelsea. Un polițist și-a revenit din șoc cu whisky

Cadavrul mumificat descoperit într-un conac dărăpănat din Chelsea, evaluat la 4 milioane de lire sterline, a fost ...
Citeste mai mult ›

Trupul mumificat al unui alpinist american dispărut în urmă cu 22 de ani, găsit în munții din Peru

A fost găsit trupul mumificat al unui alpinist american dispărut în urmă cu 22 de ani în munții din Peru.
Citeste mai mult ›

Misterul „mumiei sirenă”, adorată de japonezi. Ce au descoperit oamenii de știință

Monștrii lui Frankenstein nu sunt doar pentru Halloween, după cum a descoperit recent o echipă de oameni de știință ...
Citeste mai mult ›

Mumia misterioasă care va fi înmormântată după 128 de ani de stat în „vitrină”. Reprezintă un oraș

O mumie va fi înmormântată după 128 de ani, timp în care a fost expusă la o casă funerară din ...
Citeste mai mult ›

Mumie cu o vechime de 1.000 de ani, dezgropată de arheologi într-un cartier rezidenţial din Peru

O echipă de arheologi din Peru a dezgropat o mumie cu o vechime de 1.000 de ani pe un sit arheologic localizat ...
Citeste mai mult ›

Cum arăta Otzi, ”Omul ghețurilor” de acum 5.000 de ani. ”Am fost foarte surprinși” FOTO

Omul preistoric al gheţurilor, Otzi, avea pielea mai închisă la culoare decât se credea până în ...
Citeste mai mult ›

Mumia cu adidași, „dovada” călătoriei în timp. Încălțările unei femei de acum 1.500 de ani au stârnit puternice controverse

Mumia cu adidași a stârnit puternice controverse, începând cu momentul când a fost descoperită, ...
Citeste mai mult ›

Polițiștii au găsit o mumie în cutia frigorifică a unui curier. Ce voia să facă cu rămășițele vechi de sute de ani

Polițiștii din Peru au făcut o descoperire surprinzătoare atunci când au percheziționat un curier care le-a atras ...
Citeste mai mult ›

Misterul din jurul „sirenei mumificate” a fost rezolvat după aproape 300 de ani | VIDEO

Misterul din jurul „sirenei mumificate” din Japonia a fost rezolvat după aproape 300 de ani de la găsirea ...
Citeste mai mult ›

Descoperire rară lângă Cairo. A fost găsită mumia unui faraon, posibil cea mai veche și cea mai bine păstrată din lume

Descoperire arheologică impresionantă în apropiere de capitala egipteană Cairo.  
Citeste mai mult ›

Cum arăta prima femeie mumificată în timp ce era însărcinată. Oamenii de știință i-au reconstituit chipul | GALERIE FOTO

Chipul primei mumii înarcinate din Egiptul antic a fost reconstruit de oamenii de știință. Femeia ar fi murit de ...
Citeste mai mult ›

A fost descoperit misterul băiatului mumificat, la 400 de ani de la moartea lui. Cine era de fapt GALERIE FOTO

Cauza morții băiatului mumificat a fost dezvăluită la aproximativ 400 de ani de la moartea lui, în urma unei ...
Citeste mai mult ›

FOTO Cum arată „cea mai frumoasă” mumie din lume. Rosalia a murit în 1920, dar este încă intactă

Corpul mumificat al unei fetițe de doi ani a fost denumit „cea mai frumoasă mumie din lume” datorită ...
Citeste mai mult ›

Descoperire macabră în podul casei unui medic din Marea Britanie

Capul decapitat al unei mumii a fost descoperit în podul casei unui doctor din Kent, Marea Britanie. Acest lucru ...
Citeste mai mult ›

Cadavrul unui pui de mamut, vechi de 30.000 de ani, descoperit în Canada

Cadavrul unui pui de mamut lânos, mumificat de 30.000 de ani, a fost descoperit în nord-vestul Canadei. ...
Citeste mai mult ›

VIDEO O mumie cu o vechime de cel puţin 800 de ani, descoperită de arheologi în Peru

O mumie a cărei vechime a fost estimată la cel puţin 800 de ani a fost descoperită într-o regiune costieră din ...
Citeste mai mult ›

Mai multe mumii cu limbă de aur au fost descoperite în Egipt

O echipă de arheologi din Egipt şi Republica Dominicană a descoperit, în apropiere de Alexandria, mumii cu limbă ...
Citeste mai mult ›

O pisică mumificată, găsită în peretele unei case din Bistrița, este licitată la Londra

O pisică mumificată, găsită în peretele unei case din Bistrița, a ajuns vedetă, la Londra, unde conform ...
Citeste mai mult ›

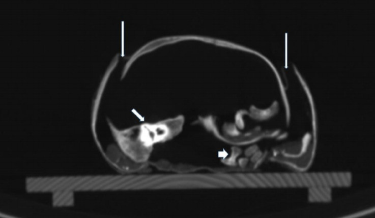
Premieră în România: o mumie de peste 2.000 de ani a fost scanată cu un computer tomograf. Ce vor să afle cercetătorii

Pentru prima dată în România, o mumie egipteană veritabilă, veche de peste 2000 de ani, a fost scanată cu ...
Citeste mai mult ›

Premieră în România: o mumie de peste 2.000 de ani a fost scanată cu un computer tomograf. Ce vor să afle cercetătorii

Pentru prima dată în România, o mumie egipteană veritabilă, veche de peste 2000 de ani, a fost scanată cu ...
Citeste mai mult ›
  • 1
  • 2
  • 3
  • 4
  • ›
  • Despre Noi
  • Harta Site
  • Newsletter
  • Contact
  • Publicitate
  • Politica de Confidentialitate
  • Politica de Cookie
  • Termeni si Conditii
  • CNA

© 2026 PROTV. Toate drepturile rezervate.