Povestea lui Valentin Boanta, de la hacker condamnat, la inventator premiat international in 2013
Valentin Boanta nu traieste in libertate. Condamnat la 5 ani de inchisoare pentru ca a inventat un sistem de copiere a cardurilor, acesta priveste cum una dintre inventiile sale impotriva fraudelor bancare a facut numele Romaniei auzit in toata lumea.
Poate ca putini au auzit de Valentin Boanta. E trecut de 30 de ani si isi petrece zilele in inchisoare, pentru ca a facut parte in urma cu cativa ani la un grup infractional cu carduri bancare.
Astazi, el transmite ca s-a indreptat, iar drept dovada ii sta una dintre cele mai apreciate inventii ale anului in lume, un nou tip de bancomat imposibil de fraudat de catre hackeri.
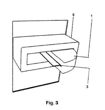
Inventia, inregistrata in anul 2010 la OSIM sub numele "Metoda si sistem de securizare a utilizarii cartelelor cu banda magnetica", denumita de cunoscatori "anti-skimmer" a fost una dintre vedetele anului la a 41-a editie a Salonului International de Inventii de la Geneva, primind Premiul Presei Internationale, dar si atentia celebrelor banci elventiene, interesate sa preia noua tehnologie.
Pe brevetul de inventie, numele lui Valentin Boanta este trecut alaturi de Mircea Tudor si Adrian Bizgar, doi inventatori care au condus acest proiect.
"Am avut bucuria sa fim premiati cu premiul special al presei internationale pentru sistemul de protectie al bancomatelor impotriva furturilor bancare, unde din pacate romanii sunt campioni mondiali si vrem sa demonstram ca tot romanii pot da si solutia."
"Premiul presei este extrem de valoros, e cotat pe locul 6 din 50 de premii speciale.", a declarat partenerul lui Valentin Boanta, Mircea Tudor pentru ProTV, cel care a ridicat alaturi de echipa sa premiul special de la Salonul de Inventii de la Geneva.
DE LA HACKER LA INVENTATOR PREMIAT INTERNATIONAL

"Ideea ne-a fost propusa de un infractor, pentru ca astazi este in penitenciar, dar mult inainte de a intra in penitenciar, inca din timpul anchetei, a realizat ca s-a asezat in pozitia... opusa celei corecte si a venit la noi sa ne propuna dezvoltarea unui sistem de protectie a bancomatelor, el stiind bine cum se fac dispozitivele care fura datele bancare."
"Am acceptat imediat proiectul, l-am cooptat, apare pe brevetul de inventie, Valentin Boanta este numele lui. Cooperarea a fost minunata, senzationala, intr-un timp relativ scurt am creionat impreuna cu el si cu o echipa de cercetatori de la noi solutiile, conceptul, dupa care am trecut la proiectarea produsului de serie, cu detalii de executie. L-am si realizat fizic, l-am expus la Geneva, a fost una dintre jucariile salonului, pentru ca toata lumea venea si-si punea cardul in bancomatul nostru, sa vada cum bancomatul il roteste si il introduce in maniera traditionala, pentru a evita citirea de date bancare."
CUM A IGNORAT STATUL ROMAN O INVENTIE PREMIATA IN LUME
Ironic, parca, si tot mai des intalnit, acest proiect a fost ignorat de statul roman, care l-a plasat mai mereu pe ultimele locuri in topurile de inventii.
"Din pacate, inventiile pe care le consideram cele mai valoroase din punctul nostru de vedere s-au plasat pe locuri ridicole, tot din punctul nostru de vedere."
"Deocamdata, statul nu ne ajuta. Am avut suport anterior, dar pentru acesta, evaluatorii - pentru ca e o diferenta intre evaluatori si finantatori, noi am picat la faza de evaluare - au spus ca nu merita finantat. Si la Geneva a fost vedeta salonului si cu un succes atat de mare, incat organizatorii au trebuit sa incalce o cutuma, veche de peste 40 de ani, aceea de a nu oferi marele premiu aceluiasi concurent de doua ori.", spune Mircea Tudor.
INVENTIA AR PUTEA AJUNGE IN BANCILE DE TOP ELVETIENE

"Interesul a fost urias si pentru scannerul de avioane si pentru sistemul de protectie pentru bancomate. Am avut un val mare de vizitatori, si vorbesc de oficiali din zona bancara, securitate, vama, politie de frontiera, veniti dupa ce presa elvetiana a publicat articole despre inventiile noastre."
"Nu pot sa vad spun numele bancilor elvetiene care au venit, dar cand vorbim de Elvetia, vorbim de sume uriase. Unul dintre primii 10 oameni care conteaza in Elvetia a venit la standul nostru si s-a declarat un sustinator al Romaniei si al inteligentei romanesti."
"Foarte probabil, pana la jumatatea anului vom definitiva ultimele detalii in ceea ce priveste design, culoare, forme, aspect, forme de prezentare si din a doua jumatate a anului, pana la sfarsitul anului sa incepem productia de masa."
"Nu poate fi pacalit acest sistem dintr-un motiv foarte simplu. Citirea de date presupune ca atunci cand introduceti un card sa fie pe directie longitudinala ca sa fie citita banda magnetica. Noi facem o introducere transversala, chiar daca ar fi un soft de citire, ar citi un segment ingust, imposibil sa refaca datele.", ne-a mai declarat partenerul lui Valentin Boanta.
"DIN PUSCARIE, VALENTIN BOANTA A ADUS ROMANIA IN ATENTIA PRESEI INTERNATIONALE"

"Valentin Boanta este primul pe lista inventatorilor. El, dincolo de activitatea infractionala, a dovedit ca si-a inteles greselile, aducand Romania in atentia presei internationale. El a fost inchis pentru participarea la un grup infractional. El era producator de skimmere. Pentru asta a primit o pedeapsa de 5 ani, la fel ca si cei care au beneficiat de skimmerele sale. La el veniturile erau de cateva mii de euro, in timp ce ceilalti au delapidat sute de mii sau milioane. El a facut pentru Romania un lucru pe care foarte multi oameni din scena politica nu l-au facut. A adus Romania in atentia publica in zona de apreciere pozitiva." - Mircea Tudor.
VIDEO: CUM FUNCTIONEAZA SISTEMUL ANTI-FURT
Conform brevetului de inventie de la OSIM, dispozitivul preia cardul introdus in bancomat si il intoarce facand astfel imposibila orice incercare de copiere a unui skimmer.